OEM موصل محوري للترددات اللاسلكية مقاس 2.4 مم Supplier

نينغبو هانسون تكنولوجيا الاتصالات المحدودة بيت / منتجات / موصل محوري للترددات اللاسلكية / موصل محوري للترددات اللاسلكية مقاس 2.4 مم

موصل محوري للترددات اللاسلكية مقاس 2.4 مم

وصف:

موصل السلسلة 2.4 مم عبارة عن موصل RF عالي التردد مصمم لتطبيقات عالية الدقة وعالية التردد، خاصة لمناسبات نقل الإشارة التي تتطلب نطاق تردد إرسال يبلغ 40 جيجا هرتز أو أعلى. إنه خيار مثالي لتوفير اتصالات إشارة عالية الأداء في نطاق تردد الميكروويف، والاتصالات عالية السرعة، ومجالات الاختبار والقياس الدقيقة.

المعلمة:

المواصفات الفنية الرئيسية:
◆ الممانعة المميزة: 50 أوم
◆ نطاق التردد: DC-50 جيجا هرتز
◆ مقاومة العزل: ≥5000MΩ
◆ جهد تحمل العزل الكهربائي: 500 فولت (جذر متوسط ​​المربع)
◆ نسبة الجهد الموجي الدائم (VSWR): .31.35
◆ دورات التزاوج: 500 مرة

استفسر

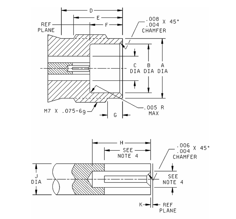
خطاب ملليمتر (بوصة)
الحد الأدنى الحد الأقصى
أ 4.725 (.186) 4.75(.187)
ب 2.393(.094) 2.408(095)
ج 1.85 (.073) 2.45 (.096)
ه 4.75(.187) 4.85(.191)
ف 1.035(.0407) 1.05 (.0413)
ز 1.34 (.053) 1.45 (.057)
ح 0.498(.0196) 0.523 (.0206)
ج ---------- 0.25(.010)
ك 0.00 (.000) 0.08 (.003)

ملحوظات:
1. طول الخيط من نهاية صامولة التوصيل، 4.37 مم (.172 بوصة) كحد أدنى، 0.63 مم (.025 بوصة) ±0.25 مم (.010 بوصة).
2. مع اقتران الجوز متحيز في الاتجاه الأمامي.
3. الأبعاد بالملليمتر.
4. يتم تقديم ما يعادله بالبوصة والجنيه للعلم فقط.
5. يبلغ قطر تجويف العداد 7 مم (.276 بوصة) كحد أدنى.

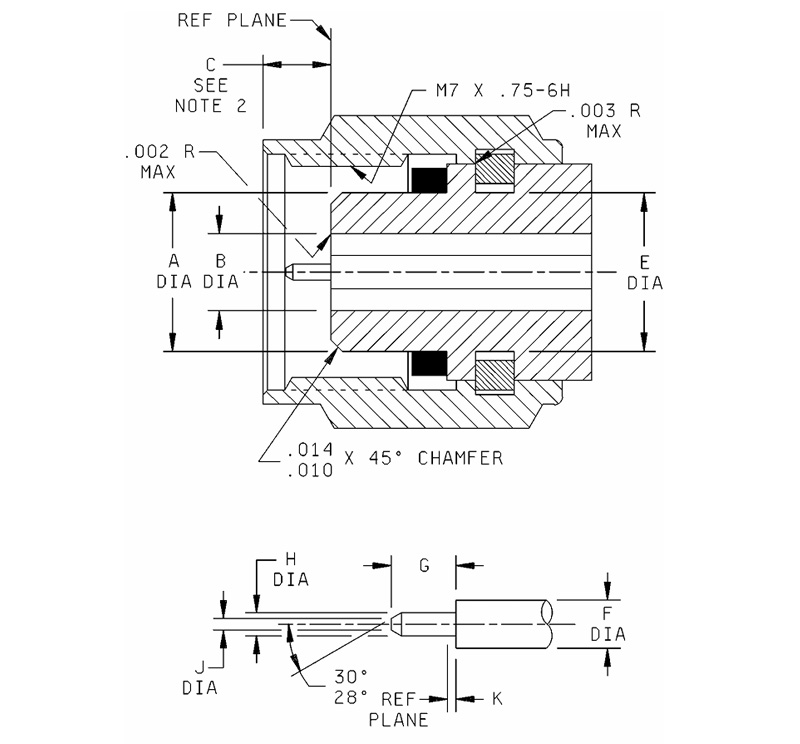
خطاب ملليمتر (بوصة)
الحد الأدنى الحد الأقصى
أ 4.725(.186) 4.75 (187)
ب 2.393 (.094) 2.408 (.095)
ج 1.85 (.073) 2.45 (.096)
ه 4.75(.187) 4.85 (.191)
ف 1.035(.0407) 1.05 (.0413)
ز 1.34 (.053) 1.45 (.057)
ح 0.498 (.0196) 0.523 (.0206)
ج -------- 0.25 (.010)
ك 0.00(.000) 0.08 (.003)

ملحوظات:
1. طول الخيط من نهاية صامولة التوصيل، 4.37 مم (.172 بوصة) كحد أدنى، 0.63 مم (.025 بوصة) ±0.25 مم (.010 بوصة).
2. مع اقتران الجوز متحيز في الاتجاه الأمامي.
3. الأبعاد بالملليمتر.
4. يتم تقديم ما يعادله بالبوصة والجنيه للعلم فقط.
5. يبلغ قطر تجويف العداد 7 مم (.276 بوصة) كحد أدنى.

2.4 ملم SERIES
  • 2.4-JB2
    2.4-JB2
    نموذج نوع الكابل
    2.4-JB2 SFT-50-2,670-086
  • 2.4-J125
    2.4-J125
    نموذج نوع الكابل
    2.4-J125 125
  • 2.4-J230
    2.4-J230
    نموذج نوع الكابل
    2.4-J230 ميلفليكس 230

أبق على اتصال

[#مدخل#]
إرسال
معلومات عنا
نينغبو هانسون تكنولوجيا الاتصالات المحدودة
نينغبو هانسون تكنولوجيا الاتصالات المحدودة
Ningbo Hanson Communication Technology Co., Ltd. is China موصل محوري للترددات اللاسلكية مقاس 2.4 مم Supplier and Custom موصل محوري للترددات اللاسلكية مقاس 2.4 مم Company. We are a manufacturer specializing in the production, processing, and trade of communication components, with more than 30 years of experience in RF coaxial connectors, adapters, and cable assemblies. لقد طورت الشركة الآن ورشة التصنيع الخاصة بها، وورشة الطلاء الكهربائي، وورشة التجميع، ومجموعة من الموردين المستقرين والموثوقين. هدف الشركة هو تزويد العملاء بمنتجات عالية الجودة. المنتجات الرئيسية هي الموصلات المحورية للترددات اللاسلكية، والمحولات، وتجميعات الكابلات عالية التردد، وتجميعات الكابلات ذات التشكيل البيني المنخفض. بالإضافة إلى ذلك، يمكن للشركة أيضًا تقديم خدمات للعملاء ذوي الاحتياجات المخصصة لتلبية متطلبات العملاء الخاصة للمنتجات. تُستخدم منتجات الشركة على نطاق واسع في مجال الطيران ومحطات الاتصالات والمعدات الطبية وغيرها من مجالات التقنية العالية. في وقت إصلاح المؤسسات والابتكار والتطوير والنمو، أخذت الشركة زمام المبادرة للانضمام إلى نظام إدارة الجودة الدولي ISO9001 وقامت باستمرار بتحسين مستوى الإدارة لتوفير منتجات وخدمات أكثر إرضاءً للعملاء الجدد والقدامى.
آخر الأخبار
هل تبحث عن فرصة عمل؟

طلب مكالمة اليوم